από τον αρθρογράφο μας, Βαγγέλη Γκικόπουλο. Θα διαβάσουμε πολλά και κατατοπιστικά για αυτά τα πολλά υποσχόμενα ''μηχανάκια'', από την ιστορία τους μέχρι τη σύγχρονη εξέλιξή τους, υλικό και τρόποι που χρησιμοποιείται για την εκτύπωση, αναλώσιμα και πολλά άλλα.
Σήμερα είναι μια ωραία ευκαιρία να καταπιαστούμε με τους 3D printers. Θα μιλήσουμε για ιστορία και θα παρουσιάσουμε τα βήματα που έχουν γίνει στον χώρο.
Λίγη ιστορία
Ο πατέρας της στερεολιθογραφίας -όπως ονομάστηκε η τρισδιάστατη εκτύπωση- είναι ο Αμερικανός Chuck Hull. Γεννήθηκε στις 12 Μάϊου 1939 και αποφοίτησε το 1961 ως Φυσικός Μηχανικός το 1961 από το University of Colorado.

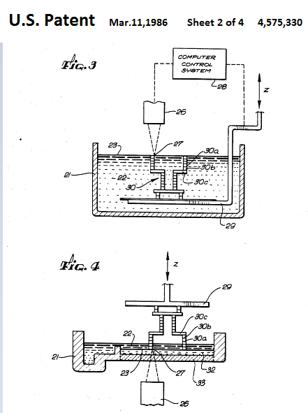
Ο 77χρόνος, σήμερα, συνιδρυτής και CTO της 3D Systems είχε κάποτε μια ωραία ιδέα. Σκέφτηκε κάπου στο 1983 ότι αν μπορούσε να τοποθετήσει χιλιάδες λεπτά στρώματα πλαστικού το ένα πάνω από το άλλο και στη συνέχεια να χαράξει το σχήμα τους, χρησιμοποιώντας το φως, τότε θα ήταν σε θέση να σχηματίσει τρισδιάστατα αντικείμενα. Μετά από ένα χρόνο πειραματιζόμενος με τις ιδέες αυτές, ανέπτυξε ένα σύστημα όπου μια συμπυκνωμένη ακτίνα υπεριώδους φωτός, κινούμενη υπό τον έλεγχο ενός υπολογιστή, χτυπά την επιφάνεια ενός κάδου γεμάτο με υγρό φωτοπολυμερές και όπου χτυπά το υγρό αυτό μετατρέπεται σε ένα τύπο πλαστικού σε σταθερή μορφή. Ωστόσο επειδή αυτό δεν περιοριζόταν σε υγρά στοιχεία μόνο πήρε την ονομασία «στερεολιθογραφία» επειδή ακριβώς κάλυπτε κάθε υλικό ικανό να στερεοποιηθεί. Η πατέντα του με κωδικό US 4575330 A έχει ημερομηνία δημοσίευσης 11 Μαρτίου 1986.
Δεν σταμάτησε όμως εκεί αφού έχει κερδίσει από το 2014 μια θέση στο Αμερικανικό Εθνικό Hall of Fame των εφευρετών με πάνω από 60 στο σύνολο πατέντες στο US patent office.
Πώς δουλεύει ένας 3D printer;
Η βασική πίσω από την τρισδιάστατη εκτύπωση είναι ένα μηχάνημα που προσθέτει στρώματα υλικού το ένα πάνω στο άλλο διαδοχικά. Στην πιάτσα αυτό λέγεται προσθετική κατασκευή.
Η εισαγωγή δεδομένων προς εκτίμηση γίνεται με πολλούς τρόπους. Ο πιο απλός είναι ανάκτηση σχεδίων από το internet. Η δημιουργία πρότυπων σχεδίων γίνεται είτε μέσω λογισμικού τύπου CAD όπως το Blend και το AutoCAD είτε με την χρήση 3D scanner.
Η προετοιμασία της εκτύπωσης δεν διαφέρει ιδιαίτερα από αυτή ενός συμβατικού 2D εκτυπωτή . Ετοιμάζεται η πρώτη η ύλη, φορτώνεται το σχέδιο και μετά ο εκτυπωτής μέσω κατάλληλης θερμοκρασίας που αναπτύσσει(180-260 στις περισσότερες περιπτώσεις) λιώνει την πρώτη ύλη ώστε να σε θέση να χυθεί από τις ειδικές εξόδους σε διαδοχικά στρώματα.
Αυτό που διαφέρει είναι η πρώτη ύλη του εκτυπωτή. Αυτή εξαρτάται από τις ιδιότητες που θέλουμε να δώσουμε στην κατασκευή μας. Ανάλογα με το υλικό χρειάζεται να υπάρχει συγκεκριμένη θερμοκρασία στο «κρεβάτι», δηλαδή την επίπεδη επιφάνεια πάνω στην οποία χτίζεται η εκτύπωση ενώ και το ίδιο το υλικό πρέπει να βρίσκεται σε συγκεκριμένη θερμοκρασία για να είναι ρευστό στον βαθμό που χρειάζεται ένας 3D εκτυπωτής.
Ανατομία ενός 3D printer
Print Bed
Όπως λέει και το όνομά του είναι μια οριζόντια επιφάνεια πάνω στην οποία εκτυπώνεται η κατασκευή μας. Αποτελείται από κάποιου είδους γυαλί, συστήματα θέρμανσης της επιφάνειας και ένα επιφανειακό υλικό που βοηθά το πλαστικό να μείνει σταθερά κολλημένο πάνω του.

Επιφάνεια print bed
Όπως αναφέρθηκε προηγουμένως το print bed έχει μια επιφάνεια πάνω στην οποία κολλάει το πλαστικό. Υπάρχουν ωστόσο πολλά είδη επιφανειών. Οι περισσότεροι εκτυπωτές θα έλθουν με κάποια πασπαρτού λύση όπως το BuildTalk ή κάποια PEI film. Ωστόσο χρειάζεται ψάξιμο για το υλικό αυτό ώστε να υπάρχει το επιθυμητό αποτέλεσμα. Για παράδειγμα στο PLA χρησιμοποιούμε Blue painter’s tape και θερμοκρασία 20-55 βαθμούς.
Extruder(εξωθητής)
Πρόκειται για το πυρήνα του εκτυπωτή. Εκεί το πλαστικό λιώνει, χρωματίζεται και πιέζεται προς τα έξω. Λειτουργεί περίπου σαν πιστόλι σιλικόνης. Αποτελείται από 2 μέρη. Το κρύο και το ζεστό. Το κρύο μέρος έχει τον κινητήρα μέσω του οποίου τραβιέται μέσα το υλικό και προωθείται στο ζεστό μέρος. Εκεί το υλικό λιώνει και φεύγει προς τα έξω.
Υπάρχουν 2 είδη εκτυπωτών βάσει του εξωθητή τους.
- Στους directdriveεκτυπωτές το ζεστό με το κρύο μέρος είναι μαζί ενωμένα και το υλικό πάει από το κρύο στο ζεστό μέρος απευθείας.
- Με το Bowdensetup, το ζεστό με το κρύο μέρος είναι διαχωρισμένα. Το κρύο μέρος είναι σταθεροποιημένο σε κάποιο σημείο στο πλαίσιο του εκτυπωτή. Το υλικό πιέζεται μέσω ενός μακριού σωλήνα του λεγόμενου Bowdentube στο καυτό μέρος. Αυτό σημαίνει ότι ο εκτυπωτής καθώς δουλεύει μετακινεί λιγότερο βάρος.
Hobbed Gear (ο κόφτης)
Πρόκειται για ένα εξάρτημα που «δαγκώνει» το υλικό και το σπρώχνει προς το σημείο εκτύπωση διαμέσου του ζεστού μέρους.
Idler Gear
Πρόκειται για έναν τροχό με ανάρτηση που σκοπός του είναι να κάνει το ακριβώς αντίθετο από τον κόφτη, δηλαδή να σπρώχνει προς το υλικό με την αντίθετη φορά από αυτή που το σπρώχνει ο κόφτης. Οι περισσότεροι εκτυπωτές έχουν ρυθμιστή ένταση του ελατηρίου ώστε να επιτυγχάνεται η επιθυμητή πίεση.
Περί θερμοκρασίας
Όλοι οι εκτυπωτές διαθέτουν αισθητήρες θερμοκρασίας και κάποιον ανεμιστήρα που αναλαμβάνει το έργο της ψύξης όλου του συστήματος. Εκεί που αξίζει να δώσουμε προσοχή είναι στο ακροφύσιο του θερμαστή. Είναι αυτονόητο αφού μιλάμε για ζέσταμα πλαστικού ότι αυτό πρέπει κάπως να γίνεται. Πρόκειται λοιπόν για μια υψηλής απόδοσης αντίσταση. Οι παλαιότεροι εκτυπωτές χρησιμοποιούσαν πηνία ή nichrome σύρμα σαν και αυτό που βρίσκουμε κάτω από τις τοστιέρες μας κάτι που ήταν σαφώς λιγότερο αποδοτικό.
Έλεγχος κίνησης: Άξονες Χ, Υ ,Ζ:
Delta VS καρτενιανοί
- Οι καρτεσιανοί εκτυπωτές διαθέτουν έναν ή δύο κινητήρες για κάθε έναν από τους τρείς άξονες Χ, Υ, Ζ. Συνήθως έχουν μια τετράγωνη περιοχή εκτύπωσης και οι εκτυπωτές έχουν μοιραία σχήμα κύβου.
- Οι Delta printersέχουν 3 βραχίονες που κινούνται ταυτόχρονα ώστε να πάει ο εξωθητής στην θέση που του έχει οριστεί για να εκτυπώσει αντί να κουνάνε έναν βραχίονα ανά κατεύθυνση.
Zώνη/ιμάντας
Οι ζώνες μετακινούν πράγματα. Κάτι σαν τους ιμάντες των αυτοκινήτων. Η κίνηση του εξωθητή μεταξύ των 3 αξόνων γίνεται με ζώνες. Ορισμένοι εκτυπωτές μάλιστα δίνουν την δυνατότητα χαλαρώματος ή σφιξίματος αυτών.
Stepper Motors
Σε αντίθεση με τους απλούς DC motors που κινούνται συνεχώς όταν κλείσουν κύκλωμα, οι stepper motors κοινούνται όπως λέει και το όνομά τους κινούνται βήμα προς βήμα δίνοντας τους σταθερότητα και ακρίβεια. Οι περισσότεροι εκτυπωτές εκεί έξω χρησιμοποιούν τύπου NEMA 17 με 200 βήματα ανά περιστροφή.
Ηλεκτρικά και ηλεκτρονικά κυκλώματα
Τροφοδοτικό
Παίρνει τα 240V AC και το κάνει DC. Χρησιμοποιούνται τα ίδια τροφοδοτικά των σταθερών υπολογιστών προσφέροντας 12V, 5V και 3.3V . Ωστόσο υπάρχουν εκτυπωτές που δουλεύουν στα 24V αντί για 12. Αυτό απαιτεί προσοχή καθώς τα ακροφύσια που ζεσταίνουν το πλαστικό στο ζεστό μέρος του εξωθητή μπορεί να καούν αν τους δώσουμε λάθος voltage.
Μητρική και Stepper Drivers
Καθετί εκεί έξω που προγραμματίζεται να κάνει κάτι έχει από πίσω μια μητρική πλακέτα. Όπως είναι σαφές όλη η Διεπαφή με τον χρήστη όση και η σωστή εκτύπωση οφείλονται σε αυτήν. Πολλές φορές τα κυκλώματα που ελέγχουν τα motors βρίσκονται ενσωματωμένα πάνω σε αυτήν.
Οι πρώτες ύλες
Το αγαπημένο υλικό των περισσότερων είναι το PLA. Βγαίνει σε διάφορα χρώματα και η εκτύπωση αντικειμένων με αυτό το υλικό είναι η πιο εύκολη και απλή διαδικασία από όλα τα υλικά ακόμα και για έναν αρχάριο. Βλ. φωτό παρακάτω...

Μπορεί κάποιος να δημιουργήσει διακοσμητικά αντικείμενα ή μινιατούρες. Γενικά consumer products. Το 2ο πιο αγαπημένο υλικό είναι το ABS. Το γνωστό πλαστικό των Lego και των ποδηλατικών κρανών. Βλ. φωτό παρακάτω...

Έχει υψηλότερο σημείο τήξης στους 210-250 βαθμούς κελσίου έναντι 230 που είναι το αντίστοιχο του PLA αλλά προσφέρει όπως είναι φυσικό υψηλότερη αντοχή στον χρόνο και στιβαρότητα. Οι ειδικοί λένε ότι την ώρα που εκτυπώνει καλό είναι να μην εισπνέουμε τα αέρια που βγαίνουν από την τήξη του ενώ απαιτείται να αερίζεται καλά ο χώρος για αυτόν ακριβώς τον λόγο.
Στο παρακάτω πίνακα συγκεντρώνονται 30 υλικά που μπαίνουν στους εκτυπωτές ως πρώτη ύλη μαζί με τις ιδιότητές τους, την χρήση τους και μερικές χρήσιμες πληροφορίες για την θερμοκρασία τήξης τους και τι υλικό χρειάζεται να στρώσετε ώστε να παραχθεί το επιθυμητό αποτέλεσμα.
| Πρώτη ύλη | Ιδιότητες | Χρήση | Δύναμη | Ευκαμψία | Αντοχή | Δυσκολία | Print Temp. (˚C) |
Bed Temp. (˚C) |
Adhesive |
| PLA | Εύκολη εκτύπωση | Καταναλωτικά προϊόντα |
★★ | ★ | ★★ | ★ | 180 - 230 | Όχι | Blue Painters Tape |
| ABS | Αντοχή στον χρόνο και στις πτώσεις | Λειτουργικά μέρη | ★★ | ★★ | ★★★ | ★★ | 210 - 250 | 50 - 100 | Kapton Tape |
| PETG (XT, N‑Vent) | Eύκαμπτο, ανθεκτικό στον χρόνο | Γενική χρήση | ★★ | ★★★ | ★★★ | ★★ | 220 - 235 | Όχι | Blue Painters Tape |
| Nylon | Δυνατό, Eύκαμπτο, ανθεκτικό στον χρόνο | Γενική χρήση | ★★★ | ★★★ | ★★★ | ★★ | 220 - 260 | 50 - 100 |
PVA-Based Glue |
| Flexible, TPE, TPU | Πολύ Eύκαμπτο | Ελαστικά πράγματα, wearables | ★ | ★★★ | ★★ | ★★★ | 225 - 235 | Όχι |
Blue Painters Tape |
| Wood | Wood Finish | Διακόσμηση σπιτιού | ★★ | ★★ | ★★ | ★★ | 195 - 220 | Όχι | Blue Painters Tape |
| HIPS | Διαλυτό, βιοδιασπώμενο | ABS δομές στήριξης διπλής εκβολής | ★ | ★★ | ★★★ | ★★ | 210 - 250 | 50 - 100 | Blue Painters Tape |
| PVA | Διαλυτό, Υδατοδιαλυτό, Βιοδιασπώμενο, ανθεκτικό στο λάδι | PLA/ABS δομές στήριξης διπλής εκβολής | ★★★ | ★ | ★★ | ★ | 180 - 230 | Όχι | Blue Painters Tape |
| PET (CEP) | Δυνατό, Ελαστικό, Ανθεκτικό στον χρόνο, ανακυκλώσιμο | Γενική χρήση | ★★★ | ★★★ | ★★★ | ★★ | 220 - 250 | Όχι | Blue Painters Tape |
| Metal | Metal Finish | Κοσμήματα | ★★ | ★ | ★★★ | ★★★ | 195 - 220 | Όχι | Blue Painters Tape |
| Carbon Fiber | Άκαμπτο, Πιο δυνατό από PLA | Λειτουργικά μέρη | ★★ | ★ | ★★★ | ★★ | 195 - 220 | Όχι | Blue Painters Tape |
| Lignin (bioFila) | Βιοδιασπώμενο | Δυνατότερο από PLA | ★★ | ★ | ★★ | ★ | 190 - 225 | 55 | Blue Painters Tape |
| PC Polycarbonate | Πολύ δυνατό, Eύκαμπτο, Ανθεκτικό στον χρόνο, Διαφανές,Αντιθερμικό | Λειτουργικά μέρη | ★★★ | ★★★ | ★★★ | ★★ | 270 - 310 | 90 - 105 | GlueStick |
| Αγώγιμο | Αγώγιμο | Ηλεκτρονικά | ★★ | ★★ | ★ | ★ | 215 - 230 | Όχι | Blue Painters Tape |
| Wax (MOLDLAY) | Melts Away | κεριά | ★ | ★ | ★ | ★ | 170 - 180 | Όχι | Blue Painters Tape |
| PETT (T‑Glase) | Δυνατό, Ελαστικό, Διαφανές, καθαρό | Λειτουργικά μέρη | ★★★ | ★★★ | ★★★ | ★★ | 235 - 240 | Όχι | Blue Painters Tape |
| ASA | Άκαμπτο, αντοχή στον χρόνο και σε ακραία καιρικά φαινόμενα | Εξωτερική χρήση | ★★ | ★ | ★★★ | ★★ | 240 - 260 | 100 - 120 | |
| PP | Eύκαμπτο, Χημική ανίσταση | Εύκαμπτα κομμάτια | ★★ | ★★★ | ★★ | ★★★ | 210 - 230 | 120 - 150 | |
| POM, Acetal | Δυνατό, Άκαμπτο,Χαμηλή τριβή , Eλαστικό | Λειτουργικά μέρη | ★★★ | ★ | ★★ | ★★★ | 210 - 225 | 130 | Blue Painters Tape |
| PMMA, Acrylic | Άκαμπτο, Ανθεκτικό στον χρόνο και τις συγκρούσεις, Διαφανές, καθαρό | Διαχύτες φωτός | ★★ | ★ | ★★★ | ★★ | 235 - 250 | 100 -120 | |
| Sandstone (LAYBRICK) | Sandstone Finish | Αρχιτεκτονική | ★ | ★ | ★ | ★★ | 165 - 210 | Όχι | Blue Painters Tape |
| Glow-In-The-Dark | Φωσφόριζέ | Για πλάκα | ★★ | ★★ | ★★ | ★ | 215 | Όχι | Blue Painters Tape |
| Cleaning | Καθαριστικό | Καθαρισμός ακροφυσίων | N/A | N/A | N/A | ★ | 150 - 260 | Όχι | |
| PC/ABS | Άκαμπτο Αντοχή στον χρόνο, Αντοχή στις συγκρούσεις, ελαστικό, εκτροπή θερμότητας | Λειτουργικά μέρη | ★★ | ★ | ★★★ | ★★★ | 260 - 280 | 120 | Kapton Tape |
| Magnetic | Μαγνητικό | Για πλάκα | ★★ | ★★ | ★★ | ★★★ | 195 - 220 | Όχι | Blue Painters Tape |
| Color Changing | Αλλάζει χρώματα | Για πλάκα | ★★ | ★★ | ★★ | ★ | 215 | Όχι | |
| nGen | Σαν PETG, αλλά ευκολότερο στην εκτύπωση,Αντοχή στις υψηλές θερμοκρασίες, Διαφανές | Γενική χρήση | ★★ | ★★★ | ★★★ | ★★ | 210 - 240 | 60 | Blue Painters Tape |
| TPC | Εξαιρετικά εύκαμπτο, Μιάζει με λάστιχο,Αντοχή σε ακτινοβολίες, χημικά και ζέστη | Ελαστικά μέρη, χρήση εξωτερική | ★ | ★★★ | ★★ | ★★★ | 210 | 60 - 100 | Blue Painters Tape |
| PORO-LAY | Μερικώς υδατοδιαλυτό | Για πλάκα, πειραματισμό | ★ | ★★★ | ★★ | ★ | 220 - 235 | Όχι | Blue Painters Tape |
| FPE | Εύκαμπτό | Εύκαμπτα μέρη | ★ | ★★★ | ★★★ | ★★ | 205 - 250 | 75 |
Το κόστος
Ένα καίριο ερώτημα που έρχεται καθώς διαβάζει κανείς αναλύσεις επι αναλύσεων είναι το πόσο τελικά θα χρειαστεί να δώσει προκειμένου να αποκτήσει αυτή επαναστατική τεχνολογία στο σπίτι του. Ο εκτυπωτής λοιπόν σαν μηχάνημα με το συνοδευτικό λογισμικό του μπορεί να κοστίσει το ελάχιστο γύρω στα 500€ και ανάλογα με το μέγεθος, την ταχύτητα εκτύπωσης και την ποιότητα της κατασκευής του ίδιου του εκτυπωτή.
Βλ. παράδειγμα 3D εκτυπωτή και κόστος (διαλέξαμε έναν καλό από πλευράς ποιότητας και κόστους)...
Όσο για «μελάνια» τους (Filaments αγγλιστί), το κόστος τους είναι από 20€ περίπου το 1kg απλού PLA και φτάνουν μέχρι τα 90€ στις περισσότερες των περιπτώσεων. Ωστόσο δεν είναι ότι κάποιο υλικό είναι πολύ πιο ακριβό από κάποιο άλλο αλλά το γεγονός ότι είναι πολύ μεγαλύτερη η ποσότητα ή το πάχος του υλικού.
Εταιρίες κατασκευής 3D printers
Με μια γρήγορη αναζήτηση στο google θα διαπιστώσει κανείς ότι ο ανταγωνισμός είναι μεγάλος αφού υπάρχουν δεκάδες εταιρίες που ασχολούνται με την δημιουργία τόσο Filaments όσο και 3D εκτυπωτών και είναι σίγουρα περισσότερες από αυτές που αναφέρει η Wikipedia . Η 3D systems...

το παιδί του Chuck Hull που αναφέραμε παραπάνω είναι πρώτη που ξεκίνησε κάτι τέτοιο και συνεπώς θεωρείται δυνατός παίκτης στην αγορά αυτή αν και επικεντρώνεται στους επαγγελματίες και όχι τόσο στους χομπίστες. Πολλοί επίσης θεωρούν την ultimaker δυνατή στον χώρο αυτό χωρίς ο γράφων να έχει προσωπική άποψη επι αυτού.
Προτάσεις 3D printers
Από προσωπική εμπειρία έχω να προτείνω τον Prusa i3 MK2 ωστόσο για την αγορά καλό θα ήταν να απευθυνθείτε σε κάποιο διαδικτυακό κατάστημα ή -όσο και αν ακουστεί κουφό- σε έγκυρους Youtubers και έντυπα πληροφορικής όπως το PC magazine που δοκιμάζουν τις δυνατότητες τους και κάνουν reviews. Ετοιμαστείτε ωστόσο να δοκιμάσετε τα Αγγλικά σας, καθώς η Ελλάδα δεν έχει τις δυνατότητες των ξένων ούτε την απήχηση του κόσμου (views, shares, likes κλπ) ώστε να δέχεται μεγάλα review products χωρίς την αγορά τους με εξαίρεση ένα- δυο κανάλια αυτή την στιγμή.
βλ. εικόνα παρακάτω, εκτυπωτής prusa i3 mk2

Ένα από τα πιο αξιόπιστα καταστήματα για να αγοράσει κανείς οτιδήποτε έχει σχέση με 3D printing είναι το Grobotronics. Τόσο ο γράφων όσο και η πανεπιστημιακή κοινότητα της χώρας την περίοδο των αυστηρών Capital Controls λάβαμε την καλύτερη δυνατή υποστήριξη και όπως θα διαπιστώσετε, έχει πολλά πράγματα για την καλύτερη 3D εμπειρία σας.
Σας άρεσε το άρθρο μας;
Αρθρογράφος: Βαγγέλης Γκικόπουλος electricalnews.gr




















